深圳单位社保断缴补缴申请指南2021
2021-04-08 19:32:37
fx358财富网
【导语】:想要申请社保断缴和补缴的话应该怎么操作呢?具体的操作流程请看正文分享。1.申请申请单位登录广东省政务服务网(https://www.gdzwfw.gov.cn/portal/guide/1144030069
【导语】:想要申请社保断缴和补缴的话应该怎么操作呢?具体的操作流程请看正文分享。
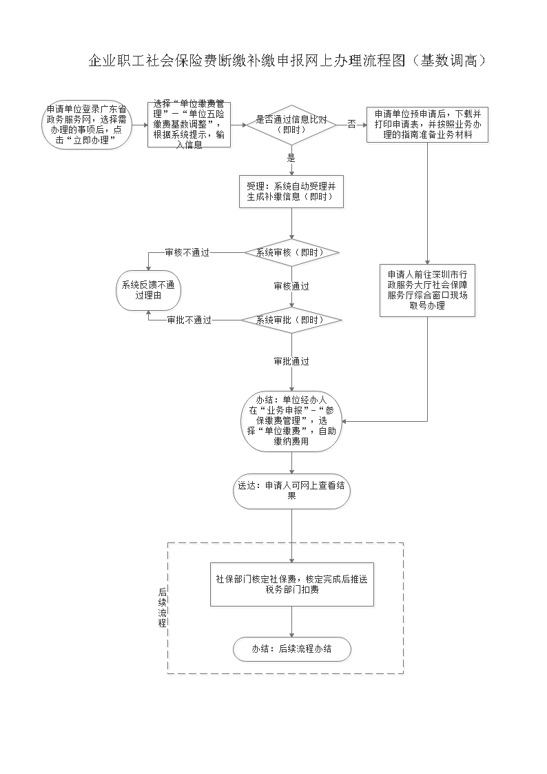
1.申请
申请单位登录广东省政务服务网(https://www.gdzwfw.gov.cn/portal/guide/114403006955832485344211164500202),选择需办理的事项后,点击“立即办理”,选择“单位缴费管理”—“单位五险缴费基数调整”,根据系统提示,输入信息。
信息比对未通过的,申请单位预申请后,下载并打印申请表,并按照业务办理的指南准备业务材料,申请人前往深圳市行政服务大厅社会保障服务厅综合窗口现场取号办理
2.受理
是否通过信息比对(即时);
3.审核
系统审核(即时);
4.审批
系统审批(即时);
5.办结
单位经办人在“业务申报”-“参保缴费管理”,选择“单位缴费”,自助缴纳补缴费用
6.送达
申请人可网上查看补缴结果
后续流程
社保部门核定社保费,核定完成后推送税务部门扣费;办结:后续流程办结

