深圳安居房查询指南
2021-01-06 09:16:23
fx358财富网
【导语】:深圳安租房如何查询?深圳安租房查询入口在哪里?深圳安租房查询步骤分为哪些?由fx358为您整理深圳安居房查询指南。安居房轮候条件申请条件1、申请人、共同申请人均具有
【导语】:深圳安租房如何查询?深圳安租房查询入口在哪里?深圳安租房查询步骤分为哪些?由fx358为您整理深圳安居房查询指南。
安居房轮候条件
申请条件
1、申请人、共同申请人均具有深圳市户籍;
2、申请人、共同申请人在深圳市未购买过
准成本房、
全成本房、
社会微利房、
全成本微利房、
经济适用住房、
安居型商品房等政策性住房,
未享受过购房补贴政策;
3、申请人、共同申请人在深圳市未拥有任何形式自有住房(含住房建设用地)
在申请受理日之前5年内未在深圳市转让过或者因离婚分割过自有住房;
4、申请人需参加深圳市社会保险(养老保险或者医疗保险,不含少儿医疗保险)累计缴费5年以上。
申请人属领军人才、新引进高级人才
(2010年5月14日后引进的正高、副高)和中初级人才(学历本科及以上)的:只需参加本市社会保险累计缴费3年以上即可
属经民政部门认定的抚恤优待、优抚对象或经残疾人联合会认定的残疾人:不受缴纳社会保险时间限制
注意事项
1、申请人的成年子女不能列为安居房共同申请人
2、通过投靠子女取得深圳市户籍的居民不能作为申请人
3、年满35周岁的单身居民,可以个人名义提出安居房轮候申请
4、申请人配偶属现役军人的,可以不受户籍限制;
申请人的未成年子女因就学而将户籍迁出本市的,视为具有本市户籍
5、具有本市户籍的申请人(配偶)父母可以且只能列为安居房共同申请人,申请人(配偶)父母未离异的,不得单独一方列为安居型商品房共同申请人
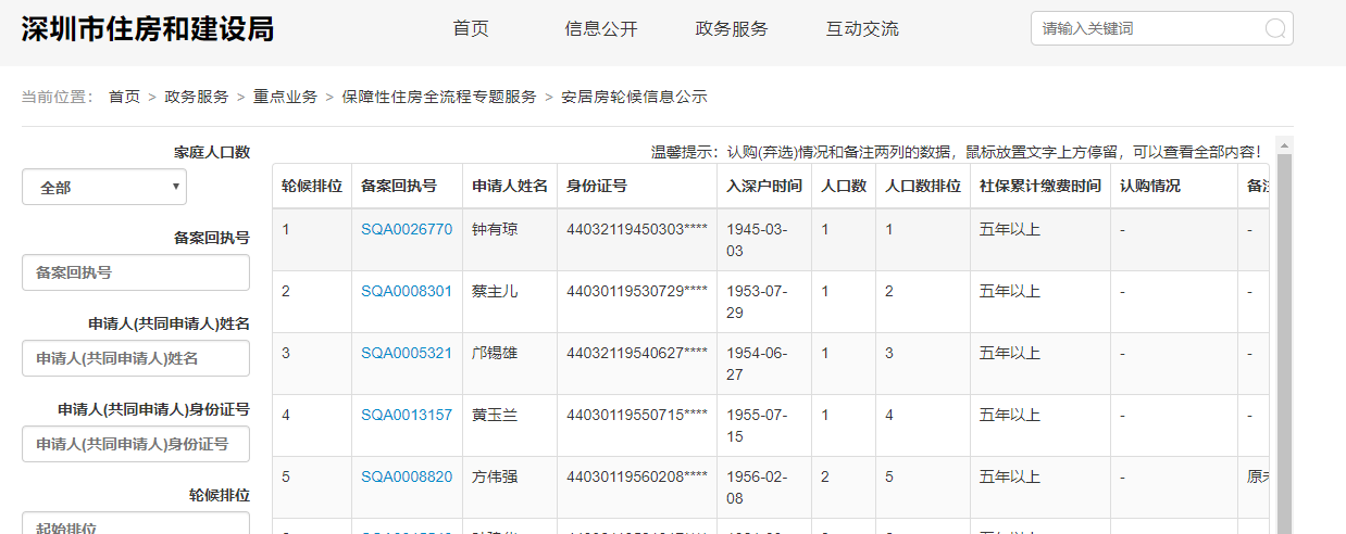
查询入口
安居房轮候信息公示网址:http://zjj.sz.gov.cn/bsfw/zdyw_1/zfbz/jggs/
查询流程1.登录深圳住建局官网(http://zjj.sz.gov.cn/),选择【政务服务】-【便民查询】-【安居房轮候信息公示】。


